Mexen Helios koupelnový radiátor 800 x 500 mm, 301 W, zlatý - W103-0800-500-00-50

Mexen Helios koupelnový radiátor 800 x 500 mm, 301 W, zlatý - W103-0800-500-00-50

Mexen Helios koupelnový radiátor 800 x 500 mm, 301 W, zlatý - W103-0800-500-00-50
search
  • Mexen Helios koupelnový radiátor 800 x 500 mm, 301 W, zlatý - W103-0800-500-00-50
  • Mexen Helios koupelnový radiátor 800 x 500 mm, 301 W, zlatý - W103-0800-500-00-50
  • Mexen Helios koupelnový radiátor 800 x 500 mm, 301 W, zlatý - W103-0800-500-00-50
  • Mexen Helios koupelnový radiátor 800 x 500 mm, 301 W, zlatý - W103-0800-500-00-50
  • Mexen Helios koupelnový radiátor 800 x 500 mm, 301 W, zlatý - W103-0800-500-00-50
  • Mexen Helios koupelnový radiátor 800 x 500 mm, 301 W, zlatý - W103-0800-500-00-50
  • Mexen Helios koupelnový radiátor 800 x 500 mm, 301 W, zlatý - W103-0800-500-00-50
Mexen Helios koupelnový radiátor 800 x 500 mm, 301 W, zlatý - W103-0800-500-00-50
Mexen Helios koupelnový radiátor 800 x 500 mm, 301 W, zlatý - W103-0800-500-00-50 Mexen Helios koupelnový radiátor 800 x 500 mm, 301 W, zlatý - W103-0800-500-00-50 Mexen Helios koupelnový radiátor 800 x 500 mm, 301 W, zlatý - W103-0800-500-00-50 Mexen Helios koupelnový radiátor 800 x 500 mm, 301 W, zlatý - W103-0800-500-00-50 Mexen Helios koupelnový radiátor 800 x 500 mm, 301 W, zlatý - W103-0800-500-00-50 Mexen Helios koupelnový radiátor 800 x 500 mm, 301 W, zlatý - W103-0800-500-00-50 Mexen Helios koupelnový radiátor 800 x 500 mm, 301 W, zlatý - W103-0800-500-00-50
	Ocel Ocel
Max. 0,6 Mpa Max. 0,6 Mpa
Max. 95°C Max. 95°C
Značka:
Série:
Ean:
5905315071552
Index:
W103-0800-500-00-50
Výška:
800 mm
Barva:
Šířka:
500 mm
Tepelný výkon:
301 W
Šířka - 500 mm - ()
Barva - Zlatá - ()

Mexen Helios koupelnový radiátor 800 x 500 mm, 301 W, zlatý - W103-0800-500-00-50

Mexen Helios je elegantní koupelnový radiátor v zlaté barvě o rozměrech 800 x 500 mm. Vyrobený z odolné oceli, vyniká vysokým tepelným výkonem 301 W při teplotě 75/65/20 °C. Radiátor má odolnost proti ohni třídy A1 a maximální pracovní tlak 0,6 MPa, což zaručuje bezpečnost při použití. Jeho nejvyšší pracovní teplota je 95 °C. Díky čtyřem připojením ½″ je univerzální při montáži. V sadě se nachází věšáky, montážní sada a odvzdušňovač. Vynikající nátěr chrání před korozí a možnost montáže topné tyče zvyšuje funkčnost produktu.

Technické údaje:

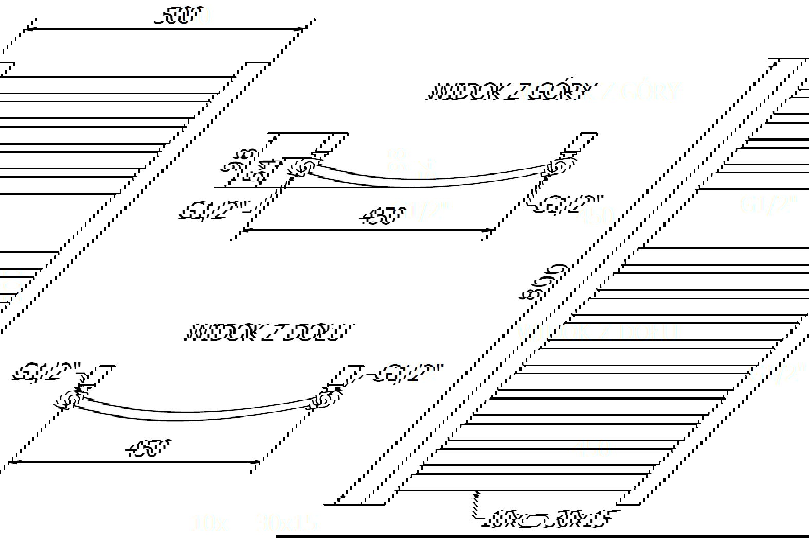
Výška: 800 mm

Šířka: 500 mm

Hloubka: 54 mm

Rozteč připojení: 45 cm 

Barva: Zlatá

Materiál: Ocel

Váha: 6,67 kg

Objem: 3,5 l

Reakce na oheň: A1

Pracovní teplota: max 95 °C 

Maximální pracovní tlak: 0,6 Mpa

Výkon ohřevu:

- 75/65/20 °C - 301 W

Přípojky:

- 4xG ½″ z vrchu a spodní strany z pravé nebo levé strany

Možnost montáže topné tyče

Vysoce kvalitní, odolný nátěr odolný proti korozi

Včetně: závěsy, montážní sada, uzavírací zátky a odvzdušňovač

Inovativní řešení použitá v tomto produktu

Ocel

Produkt je vyroben z vysoce kvalitní nízkouhlíkové oceli, která nejenže zajišťuje dlouhou životnost zařízení a odolnost proti korozi, ale také umožňuje rychlé vyhřátí místnosti a poskytuje uživatelům tepelný komfort.

Max. 0,6 Mpa

Maximální pracovní tlak je 0,6 Mpa (6 barů). To znamená, že radiátor může pracovat bezpečně a efektivně v standardních podmínkách užívání. Zajišťuje optimální tepelný komfort a příjemnou teplotu v místnosti.

Max. 95°C

Maximální teplota dosažená radiátorem během provozu je 95°C. Tato teplota umožňuje efektivní a účinné vytápění místnosti, přičemž zajišťuje bezpečnost uživatelům a okolnímu povrchu radiátoru.

Odolnost proti matování a korozi

Produkt vyrobený z vysoce kvalitních materiálů odolných proti matování a korozi, díky čemuž si zachovává atraktivní vzhled a funkčnost po dlouhou dobu používání, bez ohledu na úroveň vlhkosti v místnosti.

10 let záruka

Produkt je pokryt 10letou zárukou. V případě problémů s zakoupeným produktem doporučujeme kontaktovat nás prostřednictvím kontaktního formuláře nebo telefonicky na číslo infolinky.

Série
Šířka
500 mm
Výška
800 mm
Hloubka
54 mm
Tepelný výkon
301 W
Barva
Materiál
Ocel
Síla montáže
Univerzální
Vzdálenost připojení
45 cm
Připojení
Spodní
Orientace
Vertikální
Podmínky záruky
Informace o bezpečnosti
Návod k obsluze
Výrobce

Nenašli jste odpověď?

Napište nám

Produkt zatím nemá žádný názor. Zanechte svůj názor!

Mexen Helios koupelnový radiátor 800 x 500 mm, 301 W, zlatý - W103-0800-500-00-50

Mexen Helios koupelnový radiátor 800 x 500 mm, 301 W, zlatý - W103-0800-500-00-50

Katalogová cena: 5 749 Kč

4 599 Kč (s DPH)

Levnější o  1 150 Kč

20%

Nejnižší cena za posledních 30 dní: 3 801 Kč

	Ocel Ocel
Max. 0,6 Mpa Max. 0,6 Mpa
Max. 95°C Max. 95°C
Značka:
Série:
Ean:
5905315071552
Index:
W103-0800-500-00-50
Výška:
800 mm
Barva:
Šířka:
500 mm
Tepelný výkon:
301 W
Šířka - 500 mm - ()
Barva - Zlatá - ()
Nabíjení ...